Универсальный конфигуратор ОВЕН используется для настройки прибора
и проверки его работоспособности перед окончательным монтажом на объекте,
а также для получения показаний прибора в процессе его периодической
поверки.
Перед началом работы необходимо скачать дистрибутив конфигуратора и установить его на персональный
компьютер (ПК).
Для подключения прибора к ПК необходимо использовать преобразователь
RS-485 <> USB (например, ОВЕН АС4-М), а также подключить к прибору
блок питания (см. п. ).
После подключения преобразователя к ПК и подачи питания на прибор,
необходимо запустить конфигуратор.
Нажать на иконку
.
В появившемся окне в выпадающем списке Интерфейс выбрать
порт, соответствующий подключенному преобразователю.
В выпадающем списке Устройства в Категория:
Датчики выбрать ПВТ110_RS.
Нажать кнопку
, в
правой части окна должен появиться найденный прибор.
Нажать кнопку
. В
дереве проекта появится подключенный прибор и его параметры.
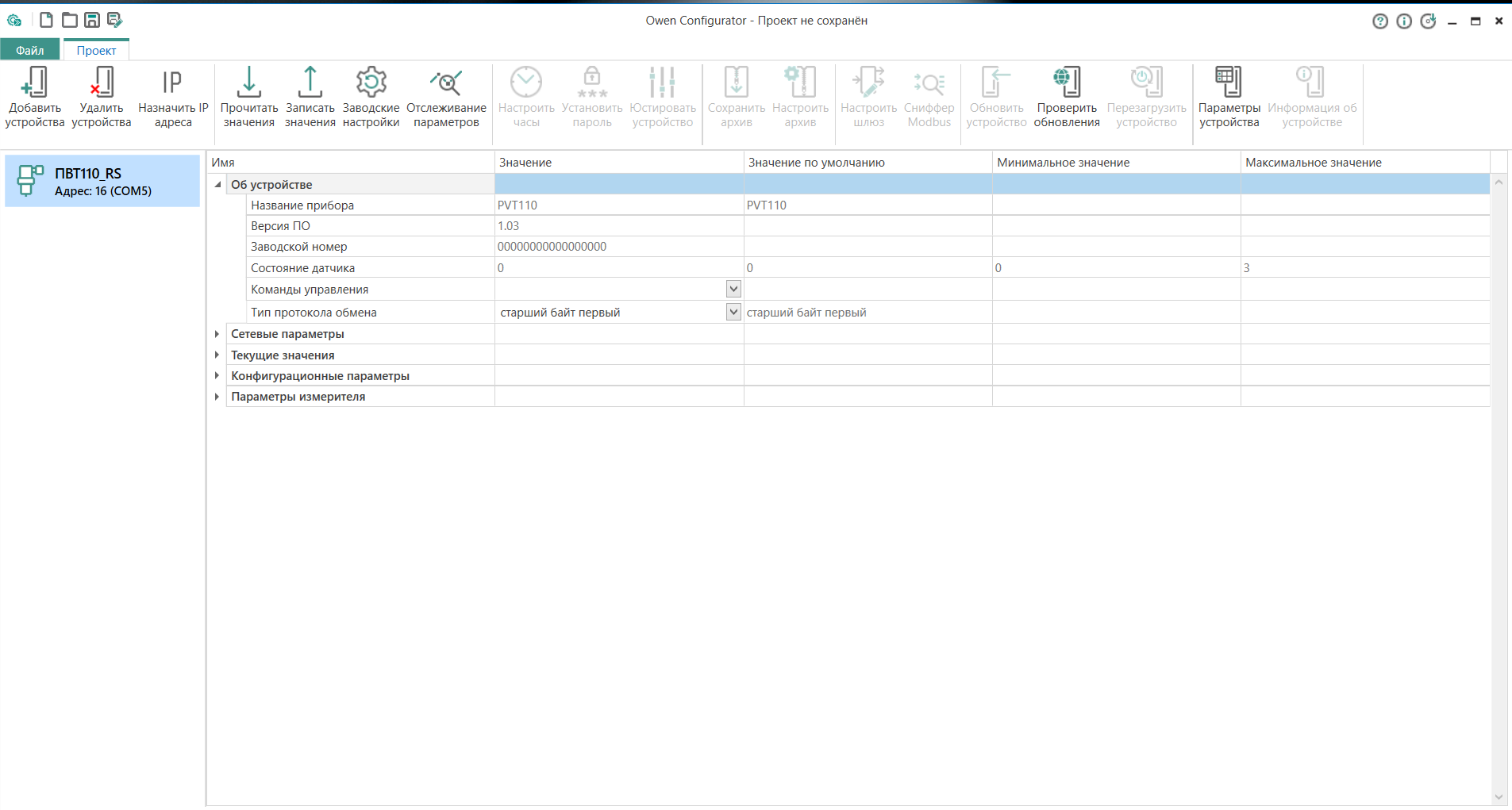
В группе Об устройстве собраны общие параметры и управление
прибором (см. Приложение А).
Первые четыре параметра только на чтение и не предполагают возможность
их изменения.
Параметры Команды управления и Тип протокола обмена позволяют изменить их значения посредством выбора соответствующей
строки в выпадающем меню. После выбора значения необходимо нажать
на иконку
.
В процессе программной перезагрузки прибор перестаёт отвечать конфигуратору,
поэтому появляется окно ошибки.
ВниманиеНе рекомендуется менять Тип протокола обмена. По умолчанию в конфигураторе задан Тип –старший байт первый, и прибор перестанет отвечать на запросы.
В группе Сетевые параметры можно посмотреть текущие сетевые
настройки. Все параметры, кроме Таймаут ответа, предназначены
только для чтения. Для изменения времени таймаута необходимо кликнуть
в поле значения, ввести требуемое значение и нажать иконку
.
В группе Текущие значения размещены оперативные параметры,
которые индицируют измеренные значения относительной влажности и температуры.
Для разового чтения данных параметров необходимо нажать иконку 
Если необходимо постоянно опрашивать прибор, то нужно кликнуть
правой кнопкой мыши на строке требуемого параметра и в появившемся
меню выбрать Добавить в отслеживание.
В появившемся новом окне будут отображаться выбранные для отслеживания
параметры.
В группе Конфигурационные параметры собраны параметры, позволяющие
настроить постоянные времени фильтров по каждому каналу измерения,
а также изменить аварийные значения. Описание данных параметров см.
в Приложении А.
В группе Параметры измерителя приводится справочная информация
о пределах измерения по каждому каналу.
Если предполагается в дальнейшем подключать аналогичные приборы,
то можно сохранить проект, нажав на иконку
. Потом не нужно
опять добавлять новое устройство, а достаточно открыть ранее сохранённый
проект.